Déscription
Principe de fonctionnement: Inductif
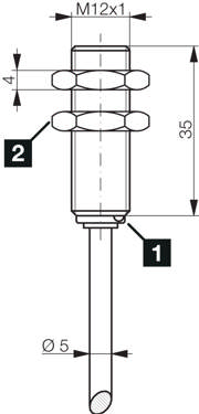
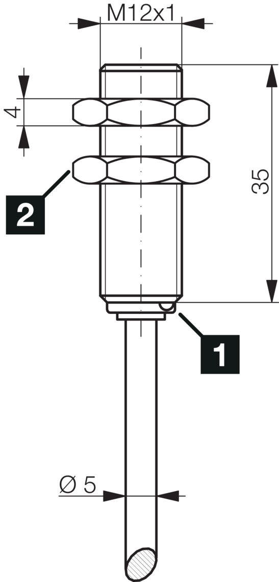
Type de montage: Affleurant
Distance de commutation: 4 mm
Tension de service: 10 ... 30 V DC
Sortie de commutation: npn, 200 mA, NC
Courant de marche à vide (max.): < 10 mA
Évaluation: Numérique
Conception: Filetage
Particularités: Distance de commutation accrue
Matériau du boîtier: Laiton
Dimensions: M12 x 1
Température ambiante de fonctionnement: -25 ... +70 °C
Indice de protection: IP 67
Raccordement: Câble, 2 m
Données techniques
| Connexion | Câble |
| Forme de construction | M12x1 |
| Type de montage | affleurant |
| Principe de fonctionnement | Inductif |
| Matériau du boîtier | Laiton |
| Distance de détection mm | 4 |
| Sortie de commande | NPN |
| Fonction de sortie de commutation | NC |
| Protection | IP 67 |
Downloads
| Nom | Download | File type | |
|---|---|---|---|
|
|
Fiche technique 2 DCCK 12 M 04B NOLK | 235 KB | |
|
|
Fiche technique DCCK 12 M 04B NOLK | 2209 KB |